14일 특허정보 검색서비스 ‘키프리스’에 따르면 포스코는 지난해 총 66건의 특허를 등록했다. 전년 대비 12건(22.2%) 늘었다.
포스코가 지난해 등록한 특허는 강판·강재가 29건(43.9%)으로 가장 많다. 이어 ▲설비·장치 17건(25.8%) ▲에너지·배터리·수소 12건(18.2%) ▲용접·접합 5건(7.6%) ▲시스템·센서·AI 3건(4.5%) 순이다.
강판·강재 분야에서는 수소 저장탱크와 배관처럼 영하의 저온과 고압 수소에 동시에 노출되는 환경에서도 금속이 쉽게 깨지지 않도록 합금 조성과 내부 조직을 정밀하게 설계한 고급 합금강이 대표적이다.
포스코는 수소 환경에서 저온 인성이 향상된 고강도 오스테나이트계 스테인리스강을 개발했다.
니켈·크롬·질소 비율을 최적화해 강도와 연성을 동시에 확보하고, 강 내부의 미세 조직을 균일하게 제어해 수소 침투 시에도 균열이 확산되지 않도록 했다. 이를 통해 기존 스테인리스강 대비 수소취성과 저온 충격에 대한 내구성을 크게 높인 고급 수소용 강재를 구현했다.
수소취성은 금속 내 수소 침투로 연성이 감소해 실온에서 파괴가 발생하는 현상으로 고강도강에서 특히 문제가 될 수 있다.

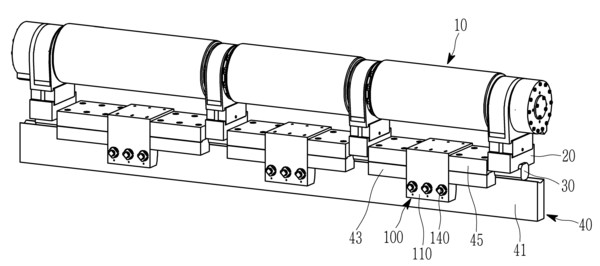
지지 블록과 베이스 바, 회전 가능한 롤 베이스 프레임에 추가적인 변형 방지 구조를 결합해 롤이 움직여도 설비 전체의 형상이 유지되도록 했다.
에너지·배터리·수소 분야에서는 폐배터리 재활용 기술이 대표적이다. 포스코는 사용이 끝난 배터리를 분쇄해 투입한 뒤 고온에서 가열·반응시키고 냉각하는 공정을 통해 니켈 등 유가금속을 회수하는 재활용 기술을 확보했다.
이 공정은 배터리 원료 내 탄소와 니켈 비율을 20% 이상 유지하도록 설계해, 가열 과정에서 니켈이 보다 효율적으로 분리·환원되도록 한 것이 특징이다. 이를 통해 기존 방식보다 금속 회수율을 높이고 에너지 투입량을 줄여 배터리 리사이클링의 경제성과 효율성을 동시에 개선했다.
연료전지 내부에서 전기를 전달하는 티타늄 분리판 표면에 전기가 잘 통하면서도 잘 녹슬지 않는 초박막 보호층을 형성하는 ‘표면 전도성 및 내구성이 우수한 연료전지 분리판용 티타늄 판재’ 특허도 등록했다. 연료전지의 출력 안정성과 수명을 동시에 높이는 소재 기술로 평가된다.
용접·접합 분야에서는 고강도 강재의 용접 안정성을 높이는 ‘가스 실드 아크 용접용 와이어’ 특허를 냈다. 이 기술은 자동차 차체, 강관, 수소 배관처럼 균열 위험이 큰 부위에서도 불꽃이 안정적으로 유지되고 내부 기공과 균열이 억제되도록 합금 성분을 정밀하게 설계한 전용 용접 와이어다. 이를 통해 용접 품질과 구조물의 장기 신뢰성을 동시에 높일 수 있다.
시스템·센서·AI 분야에서는 압연 공정의 설비 관리 효율을 높이는 ‘MRT 센서를 이용한 롤 열화도 평가 방법 및 시스템’이 있다. 롤에 전류를 흘려 자기공명 반응을 측정하고 이를 기준 데이터와 비교해 마모·균열·열화 상태를 수치화하는 방식으로, 롤 교체 시점을 데이터 기반으로 판단할 수 있다. 이를 통해 불량 발생과 불필요한 설비 교체를 줄일 수 있다.
포스코 관계자는 “자동차강판과 전기강판 등 전략 제품 위주로 특허를 늘리고 있다”며 “강판 중심의 기술 개발 기조를 유지하며 핵심 제품군에 역량을 집중하고 있다”고 말했다.
[소비자가만드는신문=이범희 기자]
